Navigation
TP200 specification
Measuring performance
The following data is derived from test rig measurements and may not represent the performance achievable on a CMM. Please contact your CMM supplier for overall system accuracy information.
Repeatability and XY (2D) form measurements as specified to Renishaw in-house test standards.
3D form measurements as specified to standard ASME B89.4.1-1997 for point-to-point probing.

Unidirectional repeatability (2σ μm)
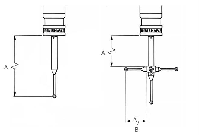
Stylus type | Offset length A (mm) | Offset length B (mm) | Trigger level 1 (µm) | Trigger level 2 (µm) |
---|---|---|---|---|
Straight | 10 | - | 0.2 | 0.25 |
Straight | 50 | - | 0.4 | 0.5 |
Straight | 70 | - | 0.7 | 1 |
Straight | 100 | - | 1 | 1.2 |
Star | 5 | 20 | 0.5 | 0.7 |
Star | 50 | 20 | 0.7 | 1 |
XY (2D) form measurement deviation
Stylus type | Offset length A (mm) | Offset length B (mm) | Trigger level 1 (µm) | Trigger level 2 (µm) |
---|---|---|---|---|
Straight | 10 | - | ±0.4 | ±0.5 |
Straight | 50 | - | ±0.8 | ±0.9 |
Straight | 70 | - | ±0.9 | ±1.5 |
Straight | 100 | - | ±1.7 | ±2 |
Star | 5 | 20 | ±1 | ±1.2 |
Star | 50 | 20 | ±1 | ±1.2 |
XYZ (3D) form measurement deviation
Stylus type | Offset length A (mm) | Offset length B (mm) | Trigger level 1 (µm) | Trigger level 2 (µm) |
---|---|---|---|---|
Straight | 10 | - | ±0.65 | ±0.9 |
Straight | 50 | - | ±1 | ±1.4 |
Straight | 70 | - | ±2 | ±3 |
Straight | 100 | - | ±4 | ±5.5 |
Star | 5 | 20 | ±1.5 | ±2.2 |
Star | 10 | 20 | ±3 | ±4 |
Repeatability of stylus change
Automatic change with SCR200 | Manual change |
---|---|
1 μm max. | 2 μm typical |
Overtravel forces
Standard force module
Stylus length | XY axis low force (g) | XY axis high force (g) | Z+ axis (g) |
---|---|---|---|
20 mm at typical overtravel | 45 | 70 | 490 |
50 mm at typical overtravel | 20 | 40 | 490 |
50 mm at max. overtravel | 25 | 50 | 1500 |
Low force module
Stylus length | XY axis low force (g) | XY axis high force (g) | Z+ axis (g) |
---|---|---|---|
20 mm at typical overtravel | 20 | 30 | 160 |
50 mm at typical overtravel | 10 | 15 | 160 |
50 mm at max. overtravel | 15 | 25 | 450 |
Overtravel limits
XY axis | Z+ axis | Z- axis |
---|---|---|
±14° | 4.5 mm (SF / LF) 12.5 mm (EO) | 4 mm |
Technical data
Trigger forces | 0.02 N (2 gF) (at 50 mm stylus tip) |
Gauging speed range | 0.5 mm/s - 80 mm/s |
Trigger rate | 5 triggers/s max |
Sense directions | 6 way: ±X, ±Y, ±Z |
Module life | >10 million triggers |
Module pull-off force | 800 g to 1000 g |
Probe cable length | Max 50 m × 0.22 mm² |
Probe cable resistance | Max 5Ω / conductor |
Operating temperature range | +10 °C to +40 °C |
Storage temperature range | -10 °C to +70 °C |
Probe length | 43 mm |
Probe diameter | 13.5 mm |
Probe connector | M8 × 1.25 × 5 mm |
Stylus mount | M2 × 0.4 mm |
Sealing | IP30 |
Weight | 15 g (sensor) 7 g (module) |
Dimensions
TP200 probe system

SCR200
